重磅!共10064.8平方米!银川再出一宗商服用地!
扫描到手机,新闻随时看
扫一扫,用手机看文章
更加方便分享给朋友
近期土拍市场供地频频,楼市热度再现。
很多人都说楼市将在6月迎来新一轮置业黄金期。
4月8日,沉寂已久的土拍市场迎来土拍,银地(G)[2022]-6号地被银川中海海悦置业有限公司有限公司以总价29368万元摘得,银地(G)[2022]-7号地流拍!
4月9日,贺兰县城区域供应1宗住宅用地,贺地(G)[2022]-2号地块。
4月15日银川土地资源局挂出6宗地块,1宗住宅用地5宗商服用地。
4月29日,银川再次供应6宗地块,其中城北供应5宗住宅用地,城西供应一宗商业用地,共546.14亩!总价约34.1亿!
一时间刷爆了各大网友的朋友圈!
5月10日,贺兰区域挂出1宗住宅用地,贺地(G)[2022]-12号 。
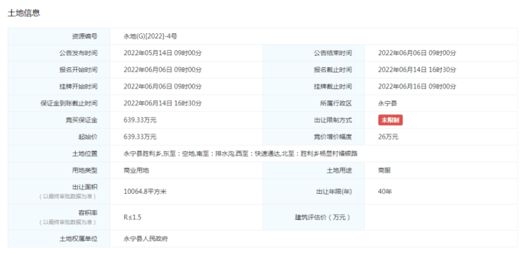
而就在5月14日,永宁又挂出一块地——永地(G)[2022]-4号。
具体信息如下:

土地位置:永宁县胜利乡,东至:空地,南至:排水沟,西至:快速通达,北至:胜利乡杨显村福银路
起始价:639.33万元
起始楼面价:424元/㎡
出让面积:10064.8平方米
容积率:R≤1.5
绿地率:L≥30%
出让年限(年) :40年


注意事项:
成交价款不含契税。
如涉及地上、地下管线迁移及建筑垃圾和土方清运工作由竞得人自行解决,所产生的费用由竞得人承担。
如今在房住不炒的战略下,开发商在选择板块时也优先考虑“性价比”的问题。
主城区可开发用地越来越少,各大板块高攀不起,城市发展不断扩大外围,此时周边时代就来了!而永地(G)[2022]-4号位于永宁县,未来潜力大!
这块地体量小,总价不会给房企太大压力,一起期待这块地的后续结果吧!
声明:本文由入驻焦点开放平台的作者撰写,除焦点官方账号外,观点仅代表作者本人,不代表焦点立场。


