就在后天!土拍大战一触即发,房产人不能错过的盛宴!
扫描到手机,新闻随时看
扫一扫,用手机看文章
更加方便分享给朋友
相信不少人,都和小编一样期待着六月的到来——银川土拍市场将在六月迎来集中大战,共13宗土地占地1421.53亩!
自去年下半年以来,银川土拍市场频频遇冷,总出现流拍状况,近日6月1日要拍卖的两宗地块:商住用地银地(G)[2022]-12号和商业用地银地(G)[2022]-4号皆已迎来出价,银川土拍市场终于开始回温。

银地(G)[2022]-12号


土地位置:金凤区亲水北大街林带东侧、新联路北侧
挂牌价:40358万元
起始楼面价:3531元/㎡
较高成交限价:46411万元
土地面积:57142.62平方米(约合85.71亩,扣除配建12个班级幼儿用地面积5400平方米后实际可开发面积为51742.62平方米,约合77.61亩)
土地用途:净地
容积率(R):1<R≤2.0
建筑密度%(JM):JM≤30
绿地率%(L):L≥35
供地状况:净地
土地出让年限:商业使用年限40年,住宅使用年限70年
挂牌开始时间(网上申请、缴纳保证金、报价起始时间):2022年05月19日 09时



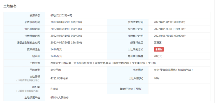
银地(G)[2022]-4号


土地位置:西夏区支二路以南、支七街以东
挂牌价:1416万元
起始楼面价:3749元/㎡
土地面积:4721.86平方米(合7.08亩)
土地用途:零售商业用地(加油加气站)
容积率(R):R≤0.8
建筑密度%(JM):JM≤30%
绿地率%(L):L≥30%
供地状况:净地
土地出让年限:40年
挂牌开始时间(网上申请、缴纳保证金、报价起始时间):2022年05月19日 09时



如今,银川贷款利率无限接近历史较低、首套房贷比例为20%、可以组合贷款买房等购房红利不断,土拍市场“双限+摇号”取消、“不限价”成为主旋律(7宗商住地对销售价格不限制),并且6月22日挂牌截止的7宗宅住地均对溢价率做了限定,较高溢价率仅为15%,银川“救市”动作已现端倪。
后天,商住用地银地(G)[2022]-10号、银地(G)[2022]-11号、银地(G)[2022]-12号、银地(G)[2022]-13号、银地(G)[2022]-14号,以及商业用地银地(G)[2022]-4号,共六宗土地即将开拍,土拍大战一触即发,结果又会如何呢?让我们一起拭目以待!
声明:本文由入驻焦点开放平台的作者撰写,除焦点官方账号外,观点仅代表作者本人,不代表焦点立场。


