重磅!起始楼面价再突破!望远板块崛起
扫描到手机,新闻随时看
扫一扫,用手机看文章
更加方便分享给朋友
4月13日,国务院常务会议明确提出“针对当前形势变化,鼓励拨备水平较高的大型银行有序降低拨备覆盖率,适时运用降准等货币政策工具,推动银行增强信贷投放能力。从而能够更好满足购房者合理住房需求。
4月15日,70城发布房价涨幅情况,银川新房环比涨幅上涨0.4%!从环比涨幅来看,银川与北京、西安、南昌、青岛、长沙、锦州、金华、遵义等8城并列全国第8!
同比上涨6.6%,居全国第二!
不难发现,不管是从宏观调控上,还是较新公布的房价涨幅数据上,银川楼市极有可能迎来新一轮黄金期,在楼市一片向好的大背景下,应该是上车的较佳时机。
最为直观的表现就是土拍市场的回暖。
4月15日银川土地资源局挂出6宗地块,1宗住宅用地5宗商服用地。其中1宗住宅用地位于城南望远板块,周边高端新盘林立,有荆门·江山阅、龙辰九悦湾、中拓世纪城、民生城、绿城·桃李江南等项目,环境优美宜居,是众多开发商抢滩的优质板块,相信该地块挂牌出让时,必定能引起一场抢夺大战。
具体情况如下:
永地(G)[2022]-3号:

土地位置:永宁县望远镇,东至:空地,南至:永宁中拓长和地产有限公司,西至:规划庆年路,北至:宁夏立业房地产开发集团有限公司
起始价:2512.56万元
出让面积:8567.5平方米
容积率:1<R≤1.6
出让年限(年) :商业使用年限40年,住宅使用年限70年
起始楼面价:1833元/㎡
注意事项:
1、成交价款不含契税。
2、如涉及地上、地下管线迁移及建筑垃圾和土方清运工作由竞得人自行解决,所产生的费用由竞得人承担。该宗地以居住用地为主,兼容商业用地比例5%-15%。
据宁夏公共资源交易网发布的公告信息显示,永地(G)[2022]-3号地块的出让限制方式并未限制,即该地块不做地块出让较高限价,也不做房屋销售限价。
其余5宗商服用地位于贺兰县,具体情况如下:

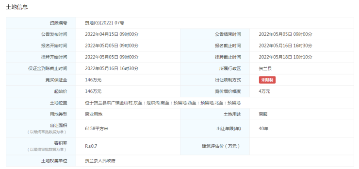
贺地(G)[2022]-07号:

土地位置:位于贺兰县洪广镇金山村,东至:泄洪沟,南至:预留地,西至:预留地,北至:预留地
起始价:146万元
出让面积:6158平方米
出让年限(年) :40年
容积率:R≤0.7

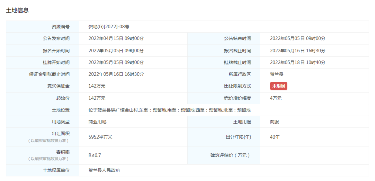
贺地(G)[2022]-08号:

土地位置:位于贺兰县洪广镇金山村,东至:预留地,南至:预留地,西至:预留地,北至:预留地
起始价:142万元
出让面积:5952平方米
出让年限(年) :40年
容积率:R≤0.7

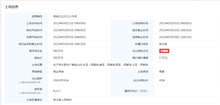
贺地(G)[2022]-09号:

土地位置:位于贺兰县洪广镇金山村,东至:预留地,南至:预留地,西至:预留地,北至:预留地
起始价:580万元
出让面积:24434平方米
出让年限(年) :40年
容积率:R≤0.7

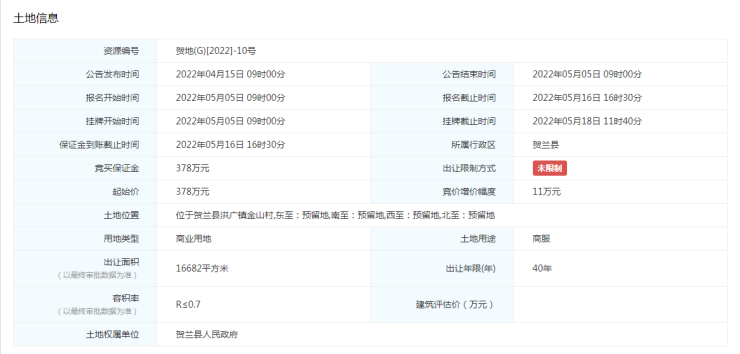
贺地(G)[2022]-10号

土地位置:位于贺兰县洪广镇金山村,东至:预留地,南至:预留地,西至:预留地,北至:预留地
起始价:378万元
出让面积:16682平方米
出让年限(年) :40年
容积率:R≤0.7

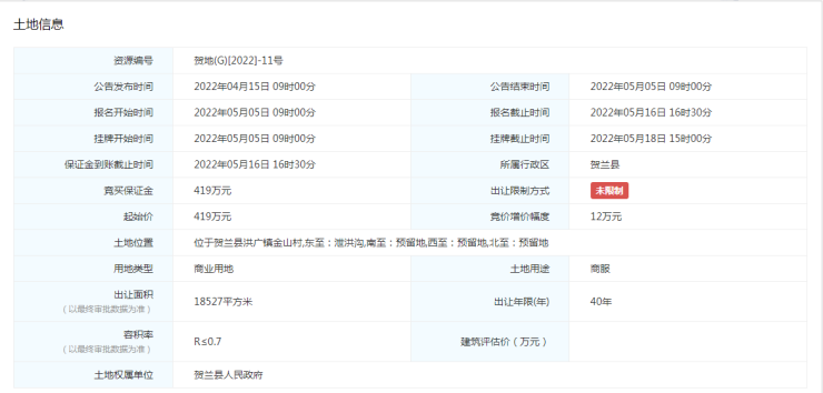
贺地(G)[2022]-11号

土地位置:位于贺兰县洪广镇金山村,东至:泄洪沟,南至:预留地,西至:预留地,北至:预留地
起始价:419万元
出让面积:18527平方米
出让年限(年) :40年
容积率:R≤0.7
声明:本文由入驻焦点开放平台的作者撰写,除焦点官方账号外,观点仅代表作者本人,不代表焦点立场。


