红色警报!9轮竞价,8号地以6107.39万元成交
扫描到手机,新闻随时看
扫一扫,用手机看文章
更加方便分享给朋友
五月,灵武迎来排名前列场土拍。
今天上午9点20,灵地(G)[2022]-8号地最终历经9轮鏖战,以6107.39万元,成交楼面价708元/㎡,溢价率35.5%,被宁夏盛景乐居房地产开发有限公司收入囊中。

土拍成交截图
接下来我们一起来回顾一下土拍详情:
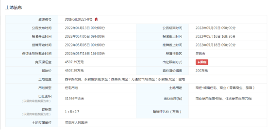
灵地(G)[2022]-8号 :

土地位置:西平路北侧、永安路东侧,东至:西昌街,南至:万通加气站,西至:永安路,北至:空地
起始价:4507.39万元
起始楼面价:523元/㎡
出让面积:31936平方米
容积率:1<R≤2.7
出让年限(年) :商业使用年限40年、住宅使用年限70年


注意事项:
成交价款不包含其他行政规费(税)。该宗地零售商业建筑面积不超过总计容建筑面积的10%,旅馆用地建筑面积不小于总计容建筑面积的30%。
灵地(G)[2022]-8号 地位置优越,配套丰富。
区位交通:西平路北侧、永安路东侧,东至:西昌街,南至:万通加气站,西至:永安路,北至:空地,交通便捷;
生活配套:地块周边分布多个成熟小区以及购物商超等;
教育配套:地块紧邻灵武市第四中学,再向西还有灵武第五小学、银川第二中学(灵武分校)等。
此次灵地(G)[2022]-8号 被宁夏盛景乐居房地产开发有限公司摘得,后续又为我们带来怎样的作品,敬请期待吧!
声明:本文由入驻焦点开放平台的作者撰写,除焦点官方账号外,观点仅代表作者本人,不代表焦点立场。


