7轮竞价,未拍先火!这宗地不简单!
扫描到手机,新闻随时看
扫一扫,用手机看文章
更加方便分享给朋友
战火燃起,必有大战。
这不“战争”未开,就已经有房企下“战书”了。
可见灵武这2块都地有着自己独特的魅力,可想而知,拍卖之日又该是怎样热闹的景象!


宗地具体详情如下:
灵地(G)[2022]-6号:

土地位置:怀远街东侧、文荟路南侧,东至:第五小学,南至:空地,西至:怀远街,北至:文荟路。
起始价:3383.12万元
起始楼面价:780元/㎡
出让面积:21689平方米
容积率:1<R≤2
出让年限(年) :商业使用年限40年、住宅使用年限70年

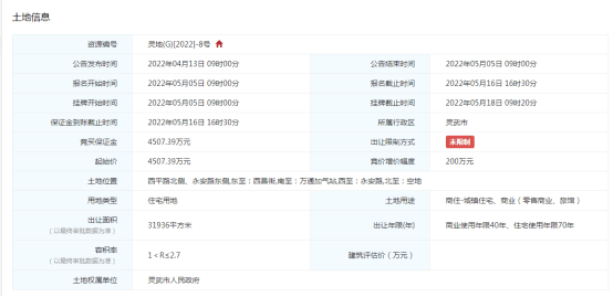
灵地(G)[2022]-8号 :

土地位置:西平路北侧、永安路东侧,东至:西昌街,南至:万通加气站,西至:永安路,北至:空地
起始价:4507.39万元
起始楼面价:523元/㎡
出让面积:31936平方米
容积率:1<R≤2.7
出让年限(年) :商业使用年限40年、住宅使用年限70年

从地图上可以看出,两宗地块相距不远,都地处灵武核芯地段,享有丰富的教育资源,周边有灵武英才中学、灵武市第五小学、灵武市第四中学、银川市第二中学(灵武分校)等教育资源,与学校“邻”距离,书声琅琅,余音绕梁助孩子茁壮成长。
按道理说,2宗地块应该是旗鼓相当,被开发商竞相争夺,但2宗地的“待遇”完全不同。
灵地(G)[2022]-6号目前已有7轮竞价,而灵地(G)[2022]-8号只有一轮竞价。
而出现这一现象最根本的原因在于灵地(G)[2022]-6号位置更优,离学校更近,自然更受欢迎。
那么,这两块地究竟花落谁家我们拭目以待!
声明:本文由入驻焦点开放平台的作者撰写,除焦点官方账号外,观点仅代表作者本人,不代表焦点立场。


