6.92亿!金凤区再挂2宗地,较高楼面价为3546元/㎡!
扫描到手机,新闻随时看
扫一扫,用手机看文章
更加方便分享给朋友
今日,宁夏土地使用交易网挂出两宗商住用地,地块都处在金凤区,一宗位于城南,一宗位于城北,区位优越,总价约6.92亿!
银地(G)[2022]-6号地楼面价:2727元/㎡
银地(G)[2022]-7号地楼面价:3546元/㎡
一起来看看宗地详情:
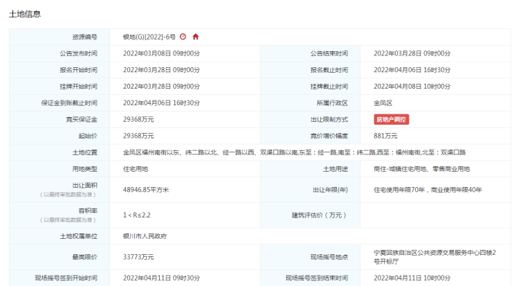
银地(G)[2022]-6号

银地(G)[2022]-6号详情:
宗地位置:金凤区福州南街以东、纬二路以北、经一路以西、双渠口路以南,东至:经一路,南至:纬二路,西至:福州南街,北至:双渠口路
出让面积:48946.85
出让金额:33773万元
起始楼面价:2727元/㎡
容积率:1<R≤2.2
用地类型:商服
出让年限(年) :住宅使用年限70年,商业使用年限40年
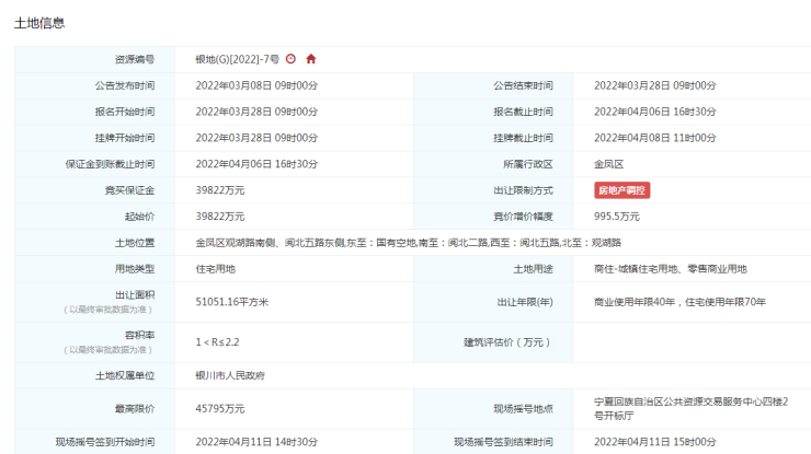
银地(G)[2022]-7号

银地(G)[2022]-7号详情:
宗地位置:金凤区观湖路南侧、阅北五路东侧,东至:国有空地,南至:阅北二路,西至:阅北五路,北至:观湖路
出让面积:51051.16平方米
出让金额:45795万元
起始楼面价:3546元/㎡
容积率:1<R≤2.2
用地类型:商服
出让年限(年) :住宅使用年限70年,商业使用年限40年
注意事项:
银地(G)〔2022〕-6号国有建设用地使用权网上报价期限截止后,报价未达到较高限价33773万元或只有1个竞买申请人达到较高报价的,按价高者得的原则确定竞得人;有两个或两个以上竞买申请人在网上报价达到较高限价的,采用现场公开摇号的方式确定竞得人。
银地(G)〔2022〕-7号国有建设用地使用权网上报价期限截止后,报价未达到较高限价45795万元或只有1个竞买申请人达到较高报价的,按价高者得的原则确定竞得人;有两个或两个以上竞买申请人在网上报价达到较高限价的,采用现场公开摇号的方式确定竞得人。
银地(G)〔2022〕-6号宗地用地内按人口均需配建一所6班幼儿园,因周边公办幼儿园可满足幼儿入学需求,在取得土地实际建设时不配建幼儿园,出让起始价包含幼儿园建安成本及装修成本费,由市财政局将费用拨付金凤区政府,用于公办幼儿园建设。具体要求按照《关于新建城镇住宅小区配套幼儿园规划建设货币化统筹配建意见》(银政办规发[2020]11号)执行。
银地(G)〔2022〕-7号宗地中配建一所6班幼儿园,用地面积不小于2700平方米,但由于东侧已预留一所50亩公建幼儿园,可以解决该项目适龄儿童入学需求,小区内不再单独配建幼儿园。相关要求以《关于新建城镇住宅小区配套幼儿园规划建设及货币化统筹配建意见》(银政办规发〔2020〕11号)为准。
据悉,这两宗地块均于4月8日开始竞拍,会不会被顺利拍出呢,请关注公众号后续报道。
声明:本文由入驻焦点开放平台的作者撰写,除焦点官方账号外,观点仅代表作者本人,不代表焦点立场。


